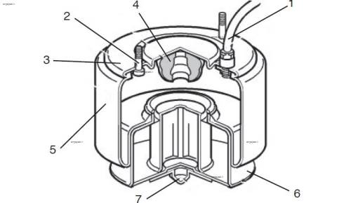
کتابچه کامل آموزش سیستم تعلیق بادی ولوو
سفارش ترجمه ی فایل ها و کتابچه های زبان اصلی پذیرفته می شود
توضیح و آموزش تلفنی و از راه دور کتابچه ها پذیرفته می شود
سفارش ترجمه پذیرفته می شود
تماس با ارسال پیام به 09991477444
turktruck1@gmail.com
فایل دمو
توضیحات دمو: نیاز نمی باشد
حجم دمو:22 کیلوبایت
دانلود دمو
توجه:
-
کاربران گرامی، بعد از خرید، میتوانید تا یک هفته فایل خریداری شده را تست نمایید. در صورتی که هر گونه تفاوتی با توضیحات ارائه شده وجود داشته باشد، از بخش
"گزارش تخلف"
استفاده کنید و درخواست بازگشت مبلغ را ثبت کنید.
-
در صورتی که سؤال تخصصی در مورد پروژه دارید، با فروشنده پروژه از بخش "فروشنده محصول" در تماس باشید.
-
برای خرید نیاز به ثبت نام نمی باشد.
-
شماهم میتوانید فایل های الکترونیکی خود را رایگان برای فروش قرار دهید.
موردی یافت نشد
یک بررسی بنویسید